Оглавление Состояние и тенденции развития ЭВМ

СУПЕРЭВМ

К суперЭВМ относятся мощные многопроцессорные вычислительные машины с быстродействием сотни миллионов - десятки миллиардов операций в секунду.

Типовая модель суперЭВМ 2000 г., по прогнозу, будет иметь следующие характеристики:

  • высокопараллельная многопроцессорная вычислительная система с быстродействием примерно 100 000 MFLOPS;
  • емкость: оперативной памяти 10 Гбайт, дисковой памяти 1-10 Тбайт (1 Тбайт = 1000 Гбайт);
  • разрядность 64; 128 бит.

Фирма Cray Research намерена к 2000 г- создать суперЭВМ производительностью 1 TFLOPS = 1 000 000 MFLOPS.

Создать такую высокопроизводительную ЭВМ по современной технологии на одном микропроцессоре не представляется возможным ввиду ограничения, обусловленного конечным значением скорости распространения электромагнитных волн (300 000 км/с), ибо время распространения сигнала на расстояние несколько миллиметров (линейный размер стороны МП) при быстродействии 100 млрд. оп/с становится соизмеримым с временем выполнения одной операции. Поэтому суперЭВМ создаются в виде высокопараллельных многопроцессорных вычислительных систем (МПВС).

Высокопараллельные МПВС имеют несколько разновидностей:

  • магистральные(конвейерные) МПВС, в которых процессоры одновременно выполняют разные операции над последовательным потоком обрабатываемых данных; по принятой классификации такие МПВС относятся к системам с многократным потоком команд и однократным потоком данных (МКОД или MISD - Multiple Instruction Single Data);
  • векторные МПВС, в которых все процессоры одновременно выполняют одну команду над различными данными - однократный поток команд с многократным потоком данных (ОКМД или S1MD - Single Instruction Multiple Data);
  • матричные МПВС, в которых МП одновременно выполняют разные операции над несколькими последовательными потоками обрабатываемых данных - многократный поток команд с многократным потоком данных (МКМД или MIMD - Multiple Instruction Multiple Data).

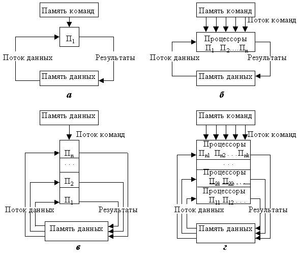
Условные структуры однопроцессорной (SISD - Single Instruction Single Data) и названных многопроцессорных вычислительных систем показаны на рис. 5.7.

Рис. 5.7. Условные структуры вычислительных систем:

а - SISD (однопроцессорная), б - MISD (конвейерная);

в - S1MD (векторная); г - MIMD (матричная)

В суперЭВМ используются все три варианта архитектуры МПВС:

  • структура MIMD в классическом ее варианте (например, в суперкомпьютере BSP фирмы Burroughs);
  • параллельно-конвейерная модификация, иначе, MMISD, т.е. многопроцессорная (Multiple) MISD-архитектура (например, в суперкомпьютере "Эльбрус 3");
  • параллельно-векторная модификация, иначе, MSIMD, т.е. многопроцессорная SIMD-архитектура (например, в суперкомпьютере Cray 2).

Наибольшую эффективность показала MSIMD-архитектура, поэтому в современных суперЭВМ чаще всего используется именно она (суперкомпьютеры фирм Cray, Fujitsu, NEC, Hitachi и др.).

Первая суперЭВМ была задумана в 1960 г. и создана в 1972 г. (машина ILLIAC IV с производительностью 20 MFLOPS), а начиная с 1974 г. лидерство в разработке суперЭВМ захватила фирма Cray Research, выпустившая ЭВМ Cray l производительностью 160 MFLOPS и объемом оперативной памяти 64 Мбайта, а в 1984 г. - ЭВМ Cray 2, в полной мере реализовавшую архитектуру MSIMD и ознаменовавшую появление нового поколения суперЭВМ. Производительность Cray 2 - 2000 MFLOPS, объем оперативной памяти - 2 Гбайта. Классическое соотношение, ибо критерий сбалансированности ресурсов ЭВМ - каждому MFLOPS производительности процессора должно соответствовать не менее 1 Мбайта оперативной памяти.

В настоящее время в мире насчитывается несколько тысяч суперЭВМ (в 1991 г. - 900 шт.), начиная от простеньких офисных Cray EL до мощных Cray 3, Cray 4, Cray Y-MP C90 фирмы Cray Research, Cyber 205 фирмы Control Data, SX-3 и SX-X фирмы NEC, VP 2000 фирмы Fujitsu (Япония), VPP 500 фирмы Siemens (ФРГ) и др., производительностью несколько десятков тысяч MFLOPS; среди лучших суперЭВМ можно отметить и отечественные суперкомпьютеры.

В сфере суперЭВМ Россия, пожалуй, впервые представила собственные оригинальные модели ЭВМ. Все остальные: и ПК, и малые, и универсальные ЭВМ, за редким исключением (например, ЭВМ Рута 110), на базе отечественной технологии копировали зарубежные разработки (в первую очередь разработки фирм США).

В СССР, а позднее в России была разработана и реализуется (сейчас, правда, почти заморожена) государственная программа разработки суперкомпьютеров. По этой программе были разработаны и частично выпущены такие суперЭВМ, как повторяющая архитектура Cray Электроника СС БИС; оригинальные разработки: ЕС1191, 1195, 1191.01, 1191.10, Эльбрус 1, 2, 3, ЗБ. Разработка ЕС1191 с производительностью 1200 MFLOPS из-за нехватки средств заморожена; офисные варианты ЕС 1195 и ЕС 1191.01 имеют производительность соответственно 50 и 500 MFLOPS; идет разработка EC1191.10 с ожидаемой производительностью 2000 MFLOPS.

ВВЕРХ